簡介: SKF軸承BTM70A/P4CDBB 類型為雙向, 精密,高精度軸承, BTM .. A design, 30°, preload B, 內徑為:70mm外徑為:110mm厚度為:36mm 軸承內圈,外圈更多詳細資料您可致電我司,獲取SKF BTM70A/P4CDBB軸承 游隙尺寸,游隙尺寸表,滾子粒數,BTM70A/P4CDBB報價,價格,外形尺寸,錐度, 軸承的圖紙、樣品、價格或者替換產品等!咨詢電話:0512-62658883
雙向, 精密,高精度軸承, BTM .. A design, 30°, preload BBTM70A/P4CDBB軸承 樣本圖紙
| 雙向, 精密,高精度軸承, BTM .. A design, 30°, preload B | |||||||||||
| 公差, 2344(00) 設計 , BTM 設計 | |||||||||||
| 推薦配合, shafts, housings | |||||||||||
| 軸和軸承座公差 | |||||||||||
|   | |||||||||||
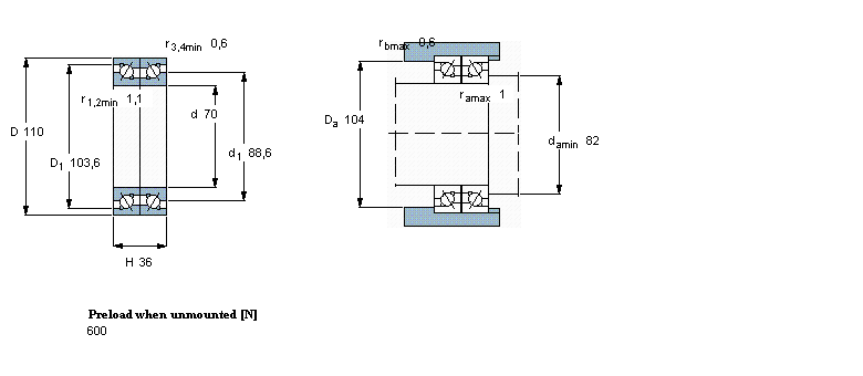
| 主要數據尺寸 | 基本負荷額定值 | 疲勞負荷限值 | 可達到的速度 | 體積 | 型號 | ||||||
| 動態 | 靜態 | 當潤滑與 | |||||||||
| 油脂 | 滴油潤滑 | ||||||||||
| d | D | H | C | C | C0 | Pu | |||||
|   | |||||||||||
| mm | kN | kN | r/min | kg | - | ||||||
|   | |||||||||||
| 70 | 110 | 36 | - | 30 | 64 | 2,75 | 4400 | 5500 | 1,12 | BTM 70 A/P4CDBB | |
同類型型號
隨機推薦型號